La electrificación avanza con fuerza en la industria del automóvil y, poco a poco, también en el mundo de las dos ruedas. Sin embargo, uno de los mayores desafíos de las motos eléctricas no es solo la autonomía, sino la pérdida de sensaciones que los moteros asocian con la experiencia de conducir. Ante este dilema, Yamaha ha dado un paso inesperado: ha patentado un sistema que recrea el sonido y la vibración de un motor de combustión en una moto eléctrica.
El reto de mantener la esencia de las dos ruedas
Para muchos moteros, la conexión con la máquina es lo que convierte a la moto en algo único. El rugido del escape, el pulso del motor bajo el asiento y las vibraciones que recorren el chasis forman parte de esa experiencia. Con la llegada de los vehículos eléctricos, todo eso desaparece: no hay explosiones de combustible, ni vibraciones, apenas el zumbido del motor eléctrico y, en algunos casos, el golpeteo de la cadena sobre la corona.

Yamaha quiere evitar que ese vacío emocional frene la transición hacia la movilidad eléctrica. Su objetivo es claro: ofrecer una moto eléctrica que se sienta tan viva como una de gasolina.
Un motor falso, pero funcional
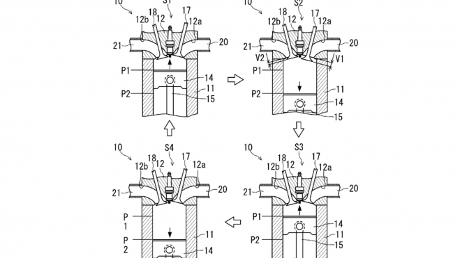
La patente, registrada bajo el nombre “Saddle-Riding Type Electric Vehicle”, describe un motor que no impulsa realmente la moto, pero que cuenta con pistones, cigüeñal y válvulas de admisión y escape simulados. Estos componentes, accionados eléctricamente, producen vibraciones mecánicas y un sonido similar al de un motor de combustión tradicional.
En la práctica, se trata de un “motor falso” que añade ruido y vibración de forma realista, gracias al movimiento de masas internas. Así, el conductor percibe sensaciones muy cercanas a las de un motor de cuatro tiempos, sin necesidad de quemar combustible.
Tradición frente a innovación

Este planteamiento refleja la tensión que vive actualmente la industria, que necesita conservar la identidad de la moto en plena transición eléctrica. Para los fabricantes, el silencio y la eficiencia son ventajas; para los moteros, pueden ser una pérdida de esencia.
Yamaha parece haber encontrado un punto medio. Según el texto de la patente, algunos amantes de las motos aceptan la reducción de emisiones, pero siguen deseando esa conexión visceral con el motor. La propuesta de la marca japonesa intenta satisfacer tanto a la nostalgia como a las exigencias medioambientales.
¿Una ventaja comercial en un mercado difícil?
El mercado de motos eléctricas todavía avanza a paso lento. La falte de autonomía y la escasez de infraestructura de recarga son los principales obstáculos. Sin embargo, también pesan factores emocionales: muchos moteros no se identifican con el silencio absoluto de una moto eléctrica.
Ahí es donde Yamaha podría marcar la diferencia. Si logra trasladar las sensaciones clásicas a un entorno eléctrico, no solo atraerá a los más nostálgicos, sino que también podría acelerar la aceptación de las dos ruedas libres de emisiones.
Un futuro aún por definir
Por ahora, se trata únicamente de una patente, sin confirmación oficial de lanzamiento al mercado. No obstante, la idea refleja un debate que va más allá de Yamaha: la electrificación no solo exige innovación tecnológica, sino también creatividad para mantener viva la cultura del motor.
La pregunta ahora es clara: ¿aceptarán los motoristas un motor falso que vibra y ruge, o preferirán abrazar el silencio eléctrico? Yamaha ha puesto la primera piedra de un debate todavía abierto incluso en el sector del automóvil.